Repair instructions

 Beseler -  C6

 Press Camera 4x5.

___________________________

1) Rangefinder Chain Repair.

 

 Push the lens standard into the camera house. release the lens board including the lens. Turn the extension track 2 cm outwards and slide the lens standard out of the rear track. Remove the lens standard and leave the bellows into the housing. You now have free access to the 4 screws holding the bellows to the camera back. After removing the bellows the bed strut has to be removed. Next remove the rangefinder cam by unscrewing the nut situated 1 cm under the top of the cam. Study the mechanism of the spring loaded guide wheel and the three small black pulleys. Dismount the spring loaded wheel on the inside by unscrewing the screw on the outside of the camera. The wheel will come off very easy. Connect the new chain or try the working with a rope to see how it works and to determine the length of the chain you'll need. The chain I purchased was a cheap silvered 2 mm necklace and appeared to be strong enough to do the job.

Running the chain through the pulleys is a bit difficult and asks a lot of concentration and patience. Finally attach the new chain to the rangefinder chain terminal using the old clip if still available...

 

   

Find the right link to connect to the terminal. From zero (infinity) position of the extension rail, the chain should be moving immediately when the extension rail is turned.  If corrections are needed they could be done by turning the knurled pivot until synchronization of the rangefinder with the ground glass has been achieved.

Final adjustment to calibrate the rangefinder.
The small adjustment screw inside the housing

 

2) Focal Plane shutter replacement and repair.

Look for more details by double clicking the drawing

 

 

 3)Rear Guide repair.

Broken rear guide rail from inside the camera house.

 Due to erroneously closing the drop bed without having turned the extension completely back into the camera-housing, the rear guide could break easily. If so it becomes very difficult to pull out the lens holder out of the housing into the extension rails. As there are no new parts available any more, I tried successfully to repair the broken guide. I cut out of a unused metal dark slide a fitting piece and glued it to the back of the broken guide. Bending the metal strip into the right angle was a peanut. On the left the broken repaired and on the right the original guide. There will be not too much pressure on the repaired guide so I presume that it will hold for the next ten or twenty years. However, if not I'd have to make a complete new guide out of aluminum.

 

  

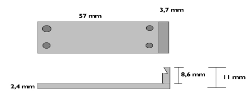
The left drawing below shows the measures of an original rear guide. The right drawing shows

the repair of the broken guide.

4) The finishing touch...

A new home made leather strap holder completes the refurbishment of the beautiful Beseler.

 

Home made strap holder

Back to Beseler Press Camera

Technical pages

Jo Lommen Classic Cameras